此“無印良品”彼“無印良品MUJI"
2024/10/30
假期中,娃要去上学,需要买个宿舍的三件套,首先想到的是去实体店看看,乘着周末去宁波的天一广场周边商场看看,一圈转下来,也没有找到适合大学宿舍的床上用品,那么赶紧去网上找呗,搜索“大学宿舍三件套”,跳出了不少品牌,比如“洁丽雅”、“雅鹿”、“无印良品”等,因为之前有买过“无印良品”的棉质产品,质量还是可以接受的,为了验证产品质量,我和女儿还一起先去实体店看了下,但是实体店没有这个规格的三件套,于是就想着网上买吧,找一家天猫店的,想想质量和售后有保障。收到货后,打开包装,原来是无商标标识、无生产企业、无联系方式,就是多了一个印着“無印良品”塑料袋,且产品质量也不敢恭维,我的第一反应是买了“高仿”的,于是就联系客户,问是否有“無印良品”商标授权证明。客服很客气的发我一份《销售许可授权证书》,一看恍然大悟,原来此“無印良品”彼“無印良品”啊。


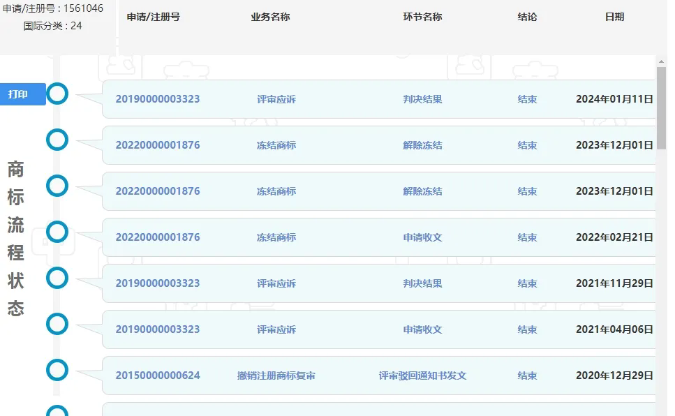
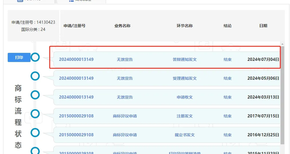
于是作为一名商标专业人士,深入了解下到底“無印良品”是一个申请情况。首先查询到了这家“北京棉田纺织品有限公司”,其名下申请注册的“无印良品”商标,最早是在2000年04月06日提出申请的,于2021年04月28日核准注册,期间经过20年,可想而知,这个注册是多么的坎坷,查询了商标的流程程序,商标业务的所有流程都走了一边,最后通过诉讼一审、二审已经最高院的终审。



以上流程的最终结果,是北京棉田纺织品有限公司申请注册的“无印良品”商标在24类的“被罩;被子;床单;地巾;盖垫;毛巾;毛巾被;棉织品;浴巾;枕巾;枕套;坐垫罩”予以核准使用。因此我所买到的商品确实是真正的正品,至少是有品牌授权的商品。
进一步查询“無印良品”这个商标,不难发现,双方在20多年间,你来我往的对这个商标展开了各类行政、诉讼的程序。





结语:
从这次购物体验中,我发觉我们购买商品或消费服务一般都会第一感觉想到的是这个品牌的知名度,上述案例,商标局的审查意见认为“無印良品”在24类不会造成相关公众的误导。那么作为您,是否会清晰的认为这个品牌是北京棉田纺织品有限公司提供的呢?或“無印良品”是否会成为下一个第9类的"IPAD"呢?

微信号|甬邦商标周Sir
精于专业|力求卓越
